Расследования
Репортажи
Аналитика
RADIOInsider

USD

79.73

EUR

92.19

OIL

108.25

Поддержите нас

2373

 

 

 

 

 

Новости

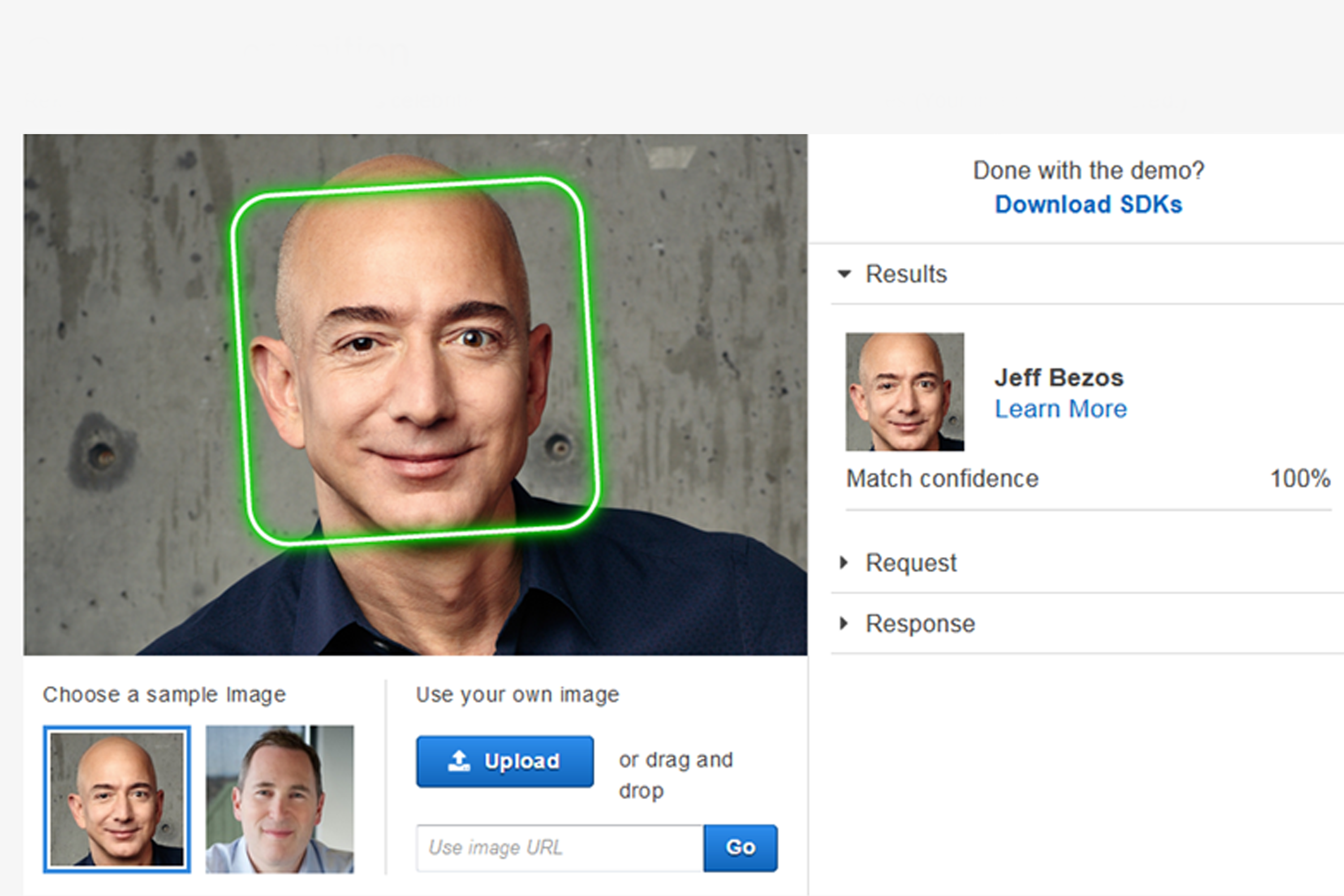
Экс-сотрудник Amazon обвинил компанию в передаче России технологии распознавания лиц

Иллюстрация к материалу

Экс-сотрудник Amazon обвинил компанию в нарушении санкций Великобритании. Чарльз Форрест подал иск к своему бывшему работодателю Amazon Web Services, пытаясь оспорить свое увольнение. По версии Форреста, его несправедливо уволили после того, как он выразил обеспокоенность по поводу предполагаемых нарушений со стороны Amazon. В их число вошли «незаконные поставки технологии распознавания лиц Amazon Rekognition российским службам» после вторжения в Украину в 2022 году и последующего ввода Великобританией санкций против Москвы.

Истец утверждает, что Amazon в 2020 году заключил сделку с российской компанией VisionLabs, предполагающую предоставление ей доступа к своей технологии распознавания лиц «через, судя по всему, подставную компанию, базирующуюся в Нидерландах». Он подчеркивает, что эта технология была использована после вторжения.

По словам Форреста, в мае 2023 года он также сообщил о предполагаемой незаконной деятельности в специальный комитет по обороне Палаты общин Великобритании и в Управление по борьбе с серьезным мошенничеством. Другие вопросы, поднятые Форрестом, включают утверждение о том, что Amazon нарушил добровольно введенный мораторий на использование полицией его технологии распознавания лиц — запрет, который компания ввела после убийства Джорджа Флойда. Даже после запрета, как сказано в документах Форреста, британская полиция использовала эту технологию для обработки «фотографий» и «установления личности преступника».

В свою очередь Amazon отрицает предъявленные бывшим работником обвинения. Компания утверждает, что Форрест, проработавший в Amazon четыре года — до 2023 года, был уволен за «грубый проступок» после того, как он «отказался отработать свои контрактные часы» и не присутствовал на ряде встреч, а также не ответил на некие электронные письма.

Нам очень нужна ваша помощь

Подпишитесь на регулярные пожертвования

Подпишитесь на нашу еженедельную Email-рассылку